1. plug torque test device of iec60065 figure 11

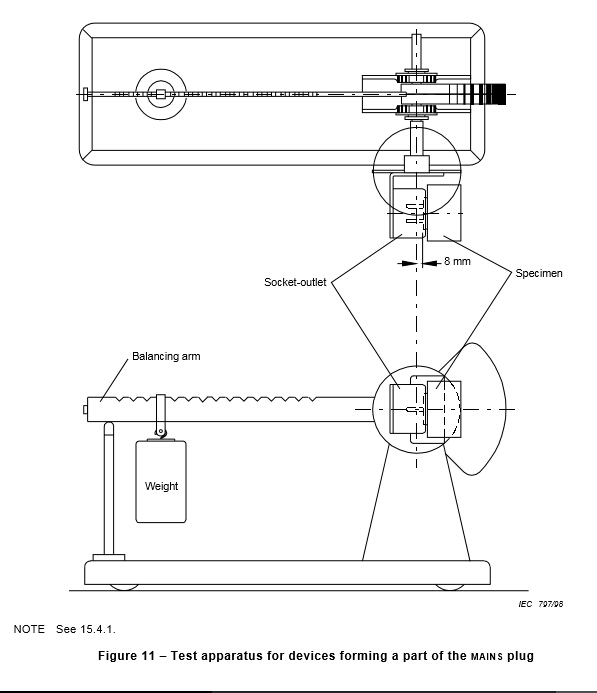
            Product Description:Name:plug torque test device of iec60065 figure 11Type:BND-CTLJStandards:BS1363.3,IEC60884,VDE0620,IEC60598,IEC60065 fig11ApplicationSocket-outlet Torque Balance Tester is used for test the torque strain exerted by the inputsocket-outlet and the devices with plug pins on output socketoutlets.The balancing arm of the test center lines of the contact tubes of the
            Description

            Product Description:

            Name:plug torque test device of iec60065 figure 11

            Type:BND-CTLJ

            Standards:BS1363.3,IEC60884,VDE0620,IEC60598,IEC60065 fig11


            Application

            Socket-outlet Torque Balance Tester is used for test the torque strain exerted by the input

            socket-outlet and the devices with plug pins on output socketoutlets.

            The balancing arm of the test center lines of the contact tubes of the

            socket-outlet at a distance of 8 mm behind the engagement face of the socket-outlet.

            With the engagement,the balancing arm is in equilibrium, the engagement face of the

            socket-outlet being in the vertical position.

            After the device has been engaged,the torque to be applied to the socket-outlet to maintain its engagement face in the vertical plane is determined by the position of a weight on the balance arm.

            Due to the different standards of different countries,the device are contained three socket clamps,If the needed clamps are more than 3 ,on request.

            In addition ,it includes a 5N weight and a 1N weight


            Type:

            weight

            2.5N*1, 1N*1

            Plug

            UL plug*1, European plug*1,all-purpose plug*1

            Conforms to standard

            IEC60884,VDE0620,IEC60598,IEC60065Fig11

            Arm of force

            0-200mm

            The distance from the contact surface and the Axis of the surface

            8mm


            2.jpg

            1.jpg

            3.jpg


            lRMJj